The idea of a foldable phone continues to be an idea that many phone manufacturers are pursuing. While Apple has missed its shot to be the first foldable phone on the market, as several Androids look to be released later this year, they’re still showing that they are still working on the concept, as their second patent has been approved after it was filed two years ago.
Apple’s Patents
Phone manufacturers have been working on foldable phones/bendable displays since 2013, but only now, five years later, are we finally getting close to seeing these plans come to fruition.

Apple filed for the “flexible display devices” patent in the fall of 2016. It also filed for another patent on a “flexible device.”
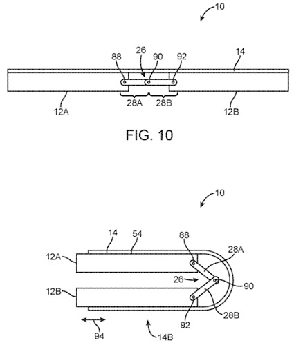
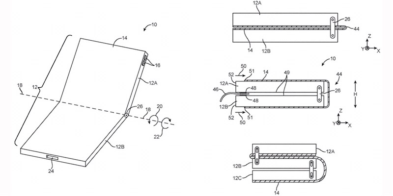
The description of the patent that was just approved explains, “Flexible displays may be mounted to the housing portions overlapping the hinges. When the housing portions in a device are rotated relative to each other, the flexible display may bend.”
It sounds as if the flexible display can be closed either backwards or forwards. “The hinge may be configured to allow the flexible display to be placed in a front-to-front configuration in which an active side of the display faces itself or a back-to-back configuration,” says the patent.
At this time it seems like Apple isn’t even sure how the all-important hinge will work, as the patent reads, “The hinges may include hinges based on a three-bar linkage, hinges based on a four-bar linkage, hinges with slotted members, hinges formed from flexible support structures, and hinges based on flexible housing structures.”
Bear in mind that this is just at the patent approval stage. There does not seem to be any plans to produce a phone following these plans in 2019. 2020 looks to be the earliest it would be produced.

Other Foldable Phones
Again, Apple is missing the boat with this type of phone, as the first ones could be released as early as this year. Samsung mobile division CEO, DJ Koh, said the foldable Galaxy X will be unveiled in 2018.
Last month it was suggested it would be released at the Samsung Developer Conference that begins November 7, while there are reports it won’t be available for purchase until 2019. One analyst is guessing it will cost around $1,850.
Additionally, chief executive of Huawei, Richard Yu, said at a device launch this week that they “have a product in the lab for a 5G foldable phone in progress for next year.”
Furthermore
With all these companies releasing foldable/flexible display phones, it appears that must be what the public is clamoring for. In this case Apple would have an advantage being that they’re only in the patent stage. If this idea bombs, Samsung and Huawei are out, and Apple saves themselves the trouble.
Are you waiting for a foldable phone? Is this a device that would cause you to rush out to buy it right away? Do yo think the Apple foldable phone patent is indicative of where we’re headed with smartphones? Let us know what you think of foldable phones in the comments section at the end of this article.
Image Credit: U.S. Patent as seen on Phone Arena
