Nintendo has been a major player in the gaming scene for quite some time now. They’re responsible for the Nintendo 64, GameCube, Wii, and Switch game systems as well as the Gamy Boy and Nintendo DS handhelds. A recent patent shows they’re considering a dual-screen system.
Looking at that list of products Nintendo is known for, it’s obvious that they’ve developed some revolutionary products. Could this dual-screen system be more of the same?
Communicating Dual Screens
The patent that Nintendo applied for will feature a dual screen, making it seem more like one of their handheld devices than a desktop gaming system.
The patent application, published on April 12, refers to the new idea as just “Game System” and was initially noticed by Digital Trends. They describe it as “a plurality of information processing apparatuses that are capable of communicating with each other.”

That’s a lot to process right there. Not only are there multiple screens, but they can communicate with each other. How would that play out within the scope of a gaming system? What could that lead to?
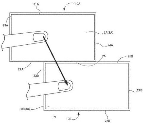
The screens are stand-alone, and if you link two or more together, they can create a new gaming experience as they exchange information between them.
The images in the patent application show a finger gliding from one screen to another. This means it must be a touchscreen device, but it also appears to mean that somehow in the scope of a game, you can drag an object from one screen to the next.
3D Effect
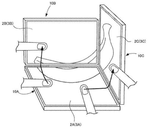
Moving beyond the ability to drag objects across screens, there also seems to be a way to employ a 3D effect throughout the devices.
Not only can you connect the screens together laterally, you can also make them perpendicular to each other which appears to make an object appear three-dimensional instead of flat.

It’s unknown how this would be incorporated into a gaming system, but just let your imagination run wild with it for a minute.
Nintendo does suggest a game of virtual air hockey across the screens, as they don’t need to be touching to communicate with each other. And they would be able to figure out where the puck was if it were actually in place on the surface of a table in between the screens.
As Digital Trends points out, it may be a system that can only be used in such a way by certain games, but it could also lead to a whole new genre of games.
Launch Date Unknown
It’s also unknown what an expected release date would be for such a Nintendo game system, as they’re only at the point of applying for the patent at this point.
But you can’t say the system isn’t very intriguing. It’s definitely something all-new and could be a whole new level of gaming.
Of course, we want to know what you think. Are you excited about the possibilities from Nintendo? Or does it just not seem that exciting? Leave your opinion in the comments section.
