Surely Apple wasn’t going to let Samsung get away with all the smartphone hype as they get ready to debut the Galaxy S IV. Apple needs to get some of that hype back. It certainly isn’t a coincidence then that dates for the next iPhone and iPad appeared in a new rumor shortly after Samsung amped up the hype for their newest phone. With news that Apple’s stock has hit the lowest price in over a year, the additional news of the latest Apple patent might not be coincidental either.
Rumors hit Tuesday morning that a new iPad and a iPad Mini would be released around April and that the iPhone 5S would come in August. There aren’t many details in this rumor, just mostly the dates. Do you think it’s a coincidence that they’re trying to get something released a month after Samsung’s big announce? I don’t.

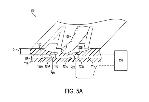
The other news hitting about Apple, other than the fact that their stock is at the lowest point in a year, is that they have filed a patent for squeeze sensitive devices. Obviously that would be a technique that would be more beneficial to a smartphone than a tablet, but they’re developing it for both devices.
When you hold your phone, squeezing the casing around the outside of it would lead to different functions, depending on the amount of pressure you used. They also suggest that it could be used as a backup way to access your phone when the touchscreen isn’t working. It could be a way to use your phone while wearing gloves, if you don’t have any of those new gloves that allow you to use touchscreens.

Interestingly enough, this patent wasn’t just filed yesterday. It was filed in 2009, leading us to ask why it is just now hitting the news. Surely they wouldn’t be adding something of that magnitude to the iPhone 5S, as usually S models are just slight modifications. It’s most likely something being looked at for the iPhone 6 or later, whenever that release happens to hit.
It seems like Apple just wanted to add a little excitement over their iPhone and iPad, as it’s much better than people talking about your stock woes. Usually even simple release dates raise excitement for Apple. If April and August end up being true dates, that would be a change for them. The iPads are usually released in March, although they released an updated iPad in October. Phones have traditionally been out in September, yet the rumor has them pushing them out a month earlier.

It will be interesting to see how the news of new iPhone and iPad release dates will affect the sales of the Samsung Galaxy S IV. Many smartphone users have brand loyalty and stick with either the iPhone or Android, but some follow the trends. If the S IV is coming out next week, and a new iPhone is expected at the end of the summer, do you wait and see what Apple is releasing or do you jump the gun and buy the S IV right away? Do you save your money and not buy the new S IV because the new iPads will be released just a month later?
Photo Credits: www.pc-tablet.com, techcrunch.com